Rampe de chargement alu
Filtre

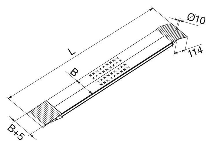
Rampes
de chargement en aluminium AVS 150 avec jante de protection
de chargement en aluminium AVS 150 avec jante de protection
Réf. prod. 150.11.014
4 482.00 CHF